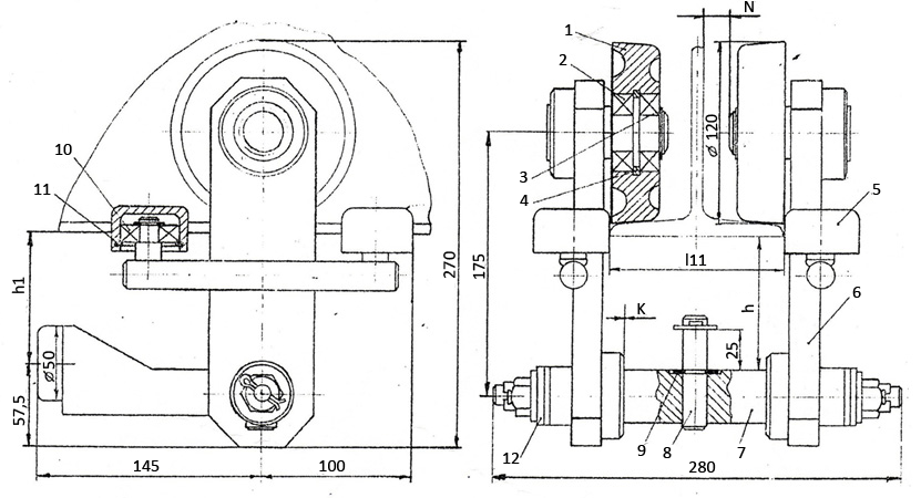
Телега шарнирная неприводная для тали г/п 2 тн (ТШН-2)
Тележка шарнирная неприводная (без привода) предназначена для перемещения грузов массой до 2000 кг
по горизонтальным и криволинейным монорельсовым путям.
В качестве монорельса используются двутавровые балки разных размеров (24М, 30М, 36М)
по ГОСТ-19425 с шириной полок от 110 до 300 мм.
| Номер балки | l | K | N, не более | h | h1 |
|---|---|---|---|---|---|
| 24М | 114 | 0 | 18 | 82+-3 | 82+-5 |
| 30М | 134 | 10 | 27 | 81+-3 | 81+-5 |
| 36М | 134 | 10 | 27 | 80+-3 | 80+-5 |
Дополнительно вы можете приобрести





