Электродвигатель со встроенным тормозом АДС71А4Е2TУ2 0.55 кВт
Двигатели механизмов передвижения талей и кранов со встроенным тормозом серии:
АДС 71 04 Е2 ТУ2 (аналог АИРС63В4Е2ТУ2, А63В4Е2ЭУ2),
АДС 71 А4 Е2 ТУ2 (аналог АИРС71А4Е2ТУ2, А71А4Е2ЭУ2),
АДС 71 В4 Е2 ТУ2 (аналог АИРС71В4Е2ТУ2, А71В4Е2ЭУ2).
Двигатели серии АДС, А и АИР являются аналогами.
Технические данные.
Двигатели предназначены для работы в следующих условиях:
— в помещениях с естественной вентиляцией или под навесом в районах с умеренным климатом с температурой окружающего воздуха от минус 40° до плюс 40°С и относительной влажностью до 100% при температуре плюс 20°С.
Не допускается применять двигатели в помещениях с большой влажностью, насыщенных парами кислот, щелочей и других веществ в концентрациях, отрицательно влияющих на изоляцию токоведущих частей двигателя; в атмосфере, содержащей взрыво — и пожароопасных местах. Двигатели рассчитаны для работы от сети переменного тока 380 В; 380 В / 220 В; 50 Гц.
По заказам двигатели могут изготавливаться на другие стандартные напряжения.
Номинальный режим работы двигателей — S4, ПВ 40% 120 вкл/час по ГОСТ 193-74. Допускается использование двигателей в режиме S1 (продолжительный) ГОСТ 193-74.
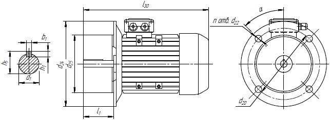
Степень защиты двигателей IP54 по ГОСТ 17494-72.
Степень охлаждения двигателей ICO141 по ГОСТ 20459-75 (обдуваемые).
Двигатели оснащены ручным растормаживающим устройством, используемым при ремонте.
Технические данные и масса приведены в таблице ниже.
|
Обозначение |
АДС 71 04 Е2 ТУ2 |
АДС 71 А4 Е2 ТУ2 |
АДС 71 В4 Е2 ТУ2 |
|---|---|---|---|
|
Аналоги |
АИРС63В4Е2Т |
АИРС71А4Е2Т |
АИРС71В4Е2Т |
|
А63В4Е2Э |
А71А4Е2Э |
А71В4Е2Э |
|
|
1 |
2 |
3 |
4 |
| Тип двигателя |
Асинхронный, трехфазный, короткозамкнутый |
||
| Номинальное напряжение, В/Гц |
380/50 |
380/50 |
380/50 |
| Номинальный ток, А |
1, 1 |
1,4 |
1,9 |
| Мощность на валу, Вт |
370 |
550 |
750 |
| Коэффициент полезного действия, % |
70 |
68 |
69 |
| Коэффициент мощности cos |
0,70 |
0,73 |
0,72 |
| Режим работы |
S4, ПВ 40% 120 вкл./час |
||
| Коэффициент инерции F1 по ГОСТ 183-74 |
1,2 |
1,2 |
1,2 |
| Момент инерции, кг · 2 · 10 — 3 |
2,0 |
2,2 |
2,35 |
| Конструктивное исполнение по способу монтажа ГОСТ 2479-79 |
1М3681, |
1М3081 |
1М3081 |
| Номинальная частота вращения, об/мин |
1350 |
1340 |
1350 |
| Тормозной момент, Н · м |
2,4 |
||
| Степень защиты по ГОСТ 17494-72 |
IP54 |
||
| Класс нагревостойкости обмотки |
В |
||
| Условная высота оси вращения, мм |
71 |
||
| Масса двигателя, кг |
9 /10,5/14,5 |
10 /11,6/15,9 |
12 /13,5/18,4 |
| Материал копруса двигателя |
Алюминиевый сплав или чугун СЧ15 |
||
| Материал щитов |
Алюминиевый сплав или чугун СЧ15 |
||





