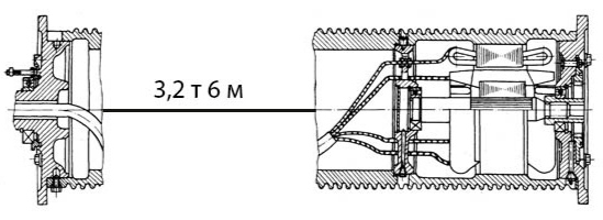
Барабан 108-3Г г/п 3,2 т h=6м
Барабан 108-3Г используется для наматывания каната при подъеме грузов.
На поверхности конструкции присутствуют специальные каналы для намотки каната. Внутри корпуса устанавливается электродвигатель. Он приводит барабан в движение.
Деталь изготовлена из прочного сплава, рассчитанного на длительный срок эксплуатации. Барабан выдерживает высокие ударные и вибрационные нагрузки без деформации корпуса.
Модель подходит для электроталей с высотой подъема до 6 метров. Чтобы уточнить совместимость оборудования, свяжитесь с консультантом любым удобным способом.
Дополнительно вы можете приобрести





