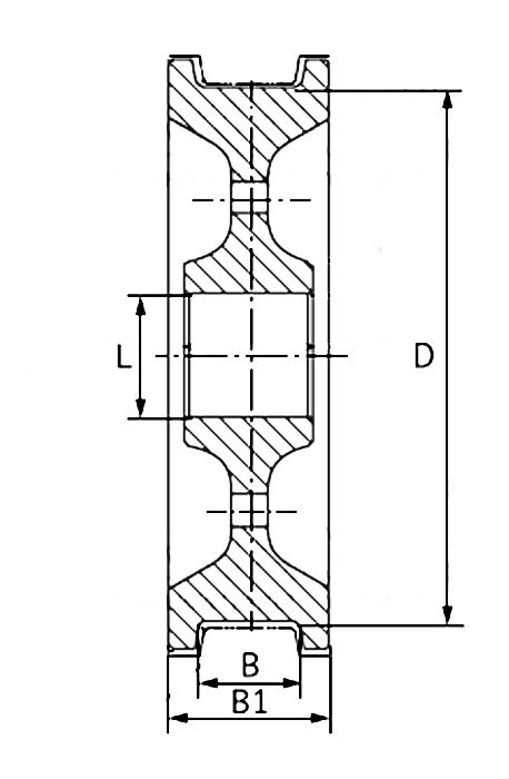
К2Р-200х50
200
50
80
50
30
Поставляем колеса крановые двухребордные К2Р-200х50 стандартных размеров, а также по чертежам заказчика.
Штампованые заготовки для крановых колес изготавливаются в соответствии с требованиями ГОСТ 28648-90. Основный материал — сталь 65Г. Твердость поверхности катания и реборд 300 — 360 НВ при глубине закалки 20 — 40 мм (в зависимости от диаметра колеса) обеспечивается за счет специальной термической обработки. По желанию Заказчика возможна поставка колёс крановых в сборе с подшипниками, осями и буксами.
Дополнительно вы можете приобрести





